发布时间: 2022-12-06 来源:勤卓环试
|
1. 产品名称 |
淋雨试验箱 |
|
2. 产品型号 |
1000L |
|
3. 试验标准 |
GB/T 10485-2007、GB 4208-2008外壳防护等级IPX4,GB4942 中对设备的要求制作。可进行45o夹角、360o旋转的直角淋雨试验,又可进行0o~±180o(理论值)摆幅的摆管淋雨试验。本设备人工模拟淋雨试验,不包括有强风速的降雨,不考虑试验样品的温度与雨水温度的温度差作用所引起的大量进水。 |
|
4. 试样限制 |
本试验设备禁止: ①易燃、易爆、易挥发性物质试样的试验或储存 ②腐蚀性物质试样的试验或储存 ③生物试样的试验或储存 ④强电磁发射源试样的试验或储存 |
|
5. 容积、尺寸和重量 |
|
|
5.1. 标称内容积 |
1000L |
|
5.2. 内型尺寸 |
W1000*H1000*D1000mm |
|
5.3. 外型尺寸 |
W1500*H1800*D1200mm |
|
5.4. 重量 |
约215㎏ |
|
6. 性能一(IP4X试验) |
|
|
6.1. 工作原理 |
|
|
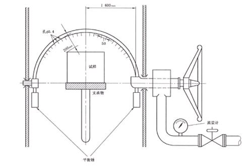
6.2. 转臂长度 |
500mm |
|
6.3. 喷孔个数 |
40个 |
|
6.4. 喷水环半径 |
R400 mm |
|
6.5. 喷水孔径 |
φ0.4mm(或φ0.8mm) |
|
6.6. 喷水孔间距 |
50mm |
|
6.7. 喷水管管径 |
φ16mm |
|
6.8. 摆管摆角幅度 |
0~±180°可调 |
|
6.9. 摆速调节 |
无级调节 |
|
6.10. 每孔平均水流速度 |
0.07L/min(或0.6L/min) |
|
6.11. 试验台面积 |
φ300mm |
|
6.12. 样品架转速 |
1~4r/min可调 |
|
6.13. 试验台承重 |
≤30kg |
|
6.14. 淋雨用水 |
当地清洁的自来水 |
|
7. 性能二(IP2X防试验) |
|
|
滴水流量 |
3+0.5/-0mm/min |
|
倾斜角度 |
15° |
|
试验标准 |
试样置于不旋转台四个固定倾斜位置上各试验2.5min,此四个位置在两个互相垂直的平面与垂线各倾斜15 °,试验总时间为10min. |
|
7. 结构特征 |
|
|
防水试验箱内箱均采用SUS304不锈钢板制作而成,水箱采用SUS304不锈钢板制作,具有低不位和水满指示,喷水管采用无缝不锈钢管制作,转台采用不锈钢制作,喷头可拆卸并配有堵头,方便客户根据标准要求的喷孔数量随时更换,。试验箱箱门为单开门。左开,带有大型观察窗,并配有雨刮 |
|
|
7.1. 保温围护结构 |
①外壁材料:SUS﹟201不锈钢板烤漆. ②内壁材料:不锈钢板SUS﹟304 . |
|
7.2. 箱门
|
①单片门,向外打开,铰链在左,把手在右(面对箱体正面时)。 ②带刮尘器可观察大視窗. |
|
7.3. 控制面板 |
5.7寸显示屏、RS232通讯接口、电源开关、转速调节器 |
|
7.4. 脚轮 |
高品质移动、固定一体式定向脚轮 |
|
7.5. 箱门密封 |
进口密封硅胶条 |
|
7.6. 电源及接水口 |
位于箱体背面 |
|
8.控制系统 |
|
|
8.1控制器 |
触摸屏+PLC人机界面控制方式,操作易懂、方便。
|
|
8.2试验方式 |
触摸屏+PLC人机界面+伺服机构 |
|
9.运输方式 |
试验箱为整体式,整体运输 |
|
a) 尺寸 b) 重量 |
最大运输尺寸(不含包装):参见 “外形尺寸” 最大运输重量(不含包装):参见 “重量” |
|
10.使用条件 |
由用户保证下列各项条件 |
|
c) 安装场地 |
地面平整,通风良好 设备周围无强烈振动 设备周围无强电磁场影响 设备周围无易燃、易爆、腐蚀性物质和粉尘 设备周围留有适当的使用及维护空间,如下图所示:
|
|
d) 供电条件 电源
电源容量 最大电流 电源开关 |
AC220V 单相两线+保护地线 电压允许波动范围:AC(220±22)V 频率允许波动范围:(50±0.5)Hz 保护地线接地电阻小于4Ω 要求用户在安装现场为设备配置相应容量的空气或动力开关,并且此开关必须是独立供本设备使用 约1.5 kW 6 A 16A |
|
e) 对储存环境的要求 |
设备不工作时,环境的温度应保持0℃~+45℃以内 |
|
f) 装箱清单 |
箱体1台、操作说明书1份、保修卡1份、合格证1份、 |